CN
/
EN
公司
產品庫
空間解決方案
視頻
新聞
下載中心
招賢納士
聯系我們
榮獲全球四大工業設計獎的作品(HANS漢斯照明燈具系統)
產品庫
>
商業照明
>
鋁材線條燈
R-R2514
產品詳情
嵌入燈
|
R-R2514
配置參數
材質:
鋁
尺寸:
17.5*24.7*14.3
安裝方式:
明裝
市場應用
酒店、購物中心、會議大廳、禮堂、餐廳、博物館、展覽館等室內區域照明場所。
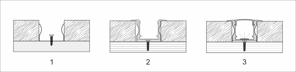
安裝步驟
www.135xxoo.com